Subaru Crosstrek Brake Light Switch Replacement

How To Change Brake Light Switch 2005 Subaru Impreza Youtube

How To Change Brake Light Switch 2005 Subaru Impreza Youtube

Revised Brake Light Switch Adjustment Procedure For Dtcs C1531 And C0054 2008 2016 Subaru Subaru

Revised Brake Light Switch Adjustment Procedure For Dtcs C1531 And C0054 2008 2016 Subaru Subaru

Pin On Car Stuff

Pin On Car Stuff

Brake Light Change 2013 2019 Subaru Xv Crosstrek 2014 Subaru Xv Crosstrek Limited 2 0l 4 Cyl

Brake Light Change 2013 2019 Subaru Xv Crosstrek 2014 Subaru Xv Crosstrek Limited 2 0l 4 Cyl

09 13 2009 One Of Rear Brake Lights Not Working Subaru Forester Owners Forum

09 13 2009 One Of Rear Brake Lights Not Working Subaru Forester Owners Forum

Subaru Brake Lamp Switch Recall Wue 90 Evergreen Subaru

Subaru Brake Lamp Switch Recall Wue 90 Evergreen Subaru

Subaru Brake Lamp Switch Recall Wue 90 Evergreen Subaru

Is recalling certain 2014 2016 forester 2008 2016 impreza sedans 2012 2016 impreza station wagons 2008 2014 wrx sedans including sti and 2013 2017 crosstrek vehicles for replacement of brake light switches.

Subaru crosstrek brake light switch replacement.

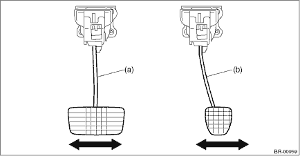
So from the factory it was set this way and now the distance required is about 1 4 inch. This video shows you how to change the brake lights on your 2014 subaru xv crosstrek. Mine went out about a year or two ago and yeah it cost waaaay too much to replace. The parts and labor required for this service are.

At the end of february 2019 subaru recalled brake light switch in 2 3 million vehicles including the 2013 2017 crosstrek 2014 2016 forester 2008 2016 impreza 4 door 2012 2016 impreza 5 door and 2008 2014 wrx 4 door. Brake light bulbs grow dimmer over time and eventually burn out. 2014 cbs xv limited w moonroof and navigation i am a subaru ambassador. When you replace the brake light bulb on your xv crosstrek be careful not to touch the bulb directly with your fingers the oil from your skin will cause the area that you touched to burn.

Brake light switch change. If you have questions feel free to ask. Upcoming subaru recall includes 2008 16 impreza cars and 2013 17 crosstrek and 2014 16 forester suvs for concerns about the brake light switch. Subaru crosstrek brake light switch replacement costs between 97 and 107 on average.

This distance in mm is much greater than the specifications in the bulletin with a new switch. Subaru xv crosstrek forums. Subaru of america inc.

Abs Light Hill Start Light Stability Control Lights Come On Together Youtube

Abs Light Hill Start Light Stability Control Lights Come On Together Youtube

How To Replace Tail Light 14 17 Subaru Crosstrek 1a Auto

How To Replace Tail Light 14 17 Subaru Crosstrek 1a Auto

Subaru Impreza Questions Hill Assist Light Loss Of Power Cargurus

Subaru Impreza Questions Hill Assist Light Loss Of Power Cargurus

Fuses Next To Internal Fuse Box Subaru Xv Crosstrek Forums

Fuses Next To Internal Fuse Box Subaru Xv Crosstrek Forums

How To Remove A 2018 Subaru Crosstrek Tail Light Assembly Upgrade Planning Cars Simplified Youtube

How To Remove A 2018 Subaru Crosstrek Tail Light Assembly Upgrade Planning Cars Simplified Youtube

Multi Function Led Rear Bumper Light Rear Fog Lamp Brake Light Turn Signal Light Reflector For Subaru Xv 2012 2013 2014 2015 Car Lights Fog Lamps Lights

Multi Function Led Rear Bumper Light Rear Fog Lamp Brake Light Turn Signal Light Reflector For Subaru Xv 2012 2013 2014 2015 Car Lights Fog Lamps Lights

Rear Tail Light Lamp Cover Trim Abs For Subaru Xv 2012 2013 2014 2015 Lamp Cover Light Accessories Light

Rear Tail Light Lamp Cover Trim Abs For Subaru Xv 2012 2013 2014 2015 Lamp Cover Light Accessories Light

Subaru Recalls 1 303 530 Vehicles For Brake Light Switch Issue Motorsafety Org

Subaru Recalls 1 303 530 Vehicles For Brake Light Switch Issue Motorsafety Org

Car Styling Tail Lights Case For Subaru Xv 2013 2016 Taillights Led Tail Lamp Rear Trunk Lamp Cover Drl Signal Brake Reverse Lamp Cover Subaru Tail Light

Car Styling Tail Lights Case For Subaru Xv 2013 2016 Taillights Led Tail Lamp Rear Trunk Lamp Cover Drl Signal Brake Reverse Lamp Cover Subaru Tail Light

Folding Mirror 3 1 Turn Signal Signal F1 Brake Lights Rear Led Reflectors Subaru Xv Crosstrek Forums

Folding Mirror 3 1 Turn Signal Signal F1 Brake Lights Rear Led Reflectors Subaru Xv Crosstrek Forums

Subaru Crosstrek Service Manual Inspection Brake Pedal

Subaru Crosstrek Service Manual Inspection Brake Pedal

How To Replace Your Brake Light Switch Yourmechanic Advice

How To Replace Your Brake Light Switch Yourmechanic Advice

Led Rear Fog Lamp Enabling Kit For Mini Cooper R56 R57 R58 F59 F55 F56 F57 1 9 Smd 921 W16w Led Bulb Rear Foglight Enable Adapter Wiring Harness In 2020

Led Rear Fog Lamp Enabling Kit For Mini Cooper R56 R57 R58 F59 F55 F56 F57 1 9 Smd 921 W16w Led Bulb Rear Foglight Enable Adapter Wiring Harness In 2020

Pin On Auto Replacement Parts

Pin On Auto Replacement Parts

Model Year 2012 To 2017 Key Stuck In Ignition Page 3 Subaru Xv Crosstrek Forums

Model Year 2012 To 2017 Key Stuck In Ignition Page 3 Subaru Xv Crosstrek Forums

Mountain Badge Decal For Subaru Decal For Crosstrek Etsy Subaru Crosstrek Subaru Crosstrek Accessories Subaru

Mountain Badge Decal For Subaru Decal For Crosstrek Etsy Subaru Crosstrek Subaru Crosstrek Accessories Subaru

Led Rear Bumper Reflector Brake Fog Lights For Subaru Exiga Levorg Wrx Sti Legacy Xv Crosstrek Impreza 11 12 13

Led Rear Bumper Reflector Brake Fog Lights For Subaru Exiga Levorg Wrx Sti Legacy Xv Crosstrek Impreza 11 12 13

Valenti Led Tail Lights For Subaru Impreza Crosstrek Valenti Tail Lamps Fastwrx Com

Valenti Led Tail Lights For Subaru Impreza Crosstrek Valenti Tail Lamps Fastwrx Com

Https Encrypted Tbn0 Gstatic Com Images Q Tbn 3aand9gcr3ndgbfjnww3ijhzwtamfp7a60ljqaiuci03wybzrxnzcallt2 Usqp Cau

Https Encrypted Tbn0 Gstatic Com Images Q Tbn 3aand9gcr3ndgbfjnww3ijhzwtamfp7a60ljqaiuci03wybzrxnzcallt2 Usqp Cau

2013 2017 Subaru Crosstrek Led Tail Light Bulbs Pair

2013 2017 Subaru Crosstrek Led Tail Light Bulbs Pair

2021 Subaru Crosstrek Sport Badge 5187138

2021 Subaru Crosstrek Sport Badge 5187138

Cargo Area Net For Outback Subaru Outback Subaru Outback

Cargo Area Net For Outback Subaru Outback Subaru Outback

Led License Plate Light Lamp For Subaru Brz Legacy Wrx Sti Impreza Xv Crosstrek Subaru Brz Subaru Impreza

Led License Plate Light Lamp For Subaru Brz Legacy Wrx Sti Impreza Xv Crosstrek Subaru Brz Subaru Impreza

Oyairzw2pvwram

Oyairzw2pvwram

2013 Subaru Xv Crosstrek Premium 15 495

2013 Subaru Xv Crosstrek Premium 15 495

Etrailer Com Trailer Hitch Installation 2015 Subaru Xv Crosstrek Youtube

Etrailer Com Trailer Hitch Installation 2015 Subaru Xv Crosstrek Youtube

2017 Subaru Crosstrek Premium In Charlotte Nc Subaru Crosstrek Hendrick Honda

2017 Subaru Crosstrek Premium In Charlotte Nc Subaru Crosstrek Hendrick Honda

Subaru Impreza Wrx Sti Vx Crosstrek Rear Fog Brake Light Kit Ijdmtoy Com

Subaru Impreza Wrx Sti Vx Crosstrek Rear Fog Brake Light Kit Ijdmtoy Com

2014 Subaru Xv Crosstrek Touring 12 790

2014 Subaru Xv Crosstrek Touring 12 790

In This Post We Talk About How The Tire Carrier Was Built For Grant S 2015 Subaru Outback Some In Process Pictur Subaru Outback Subaru Subaru Outback Offroad

In This Post We Talk About How The Tire Carrier Was Built For Grant S 2015 Subaru Outback Some In Process Pictur Subaru Outback Subaru Subaru Outback Offroad

Rear Tail Light Lamp Brake Indicator Assembly Pair Mahindra Tractors Lamp Light Mahindra Tractor Tail Light

Rear Tail Light Lamp Brake Indicator Assembly Pair Mahindra Tractors Lamp Light Mahindra Tractor Tail Light

2019 Subaru Crosstrek Prices Reviews Pictures Kelley Blue Book

2019 Subaru Crosstrek Prices Reviews Pictures Kelley Blue Book

Subaru Recalls 1 3 Million Vehicles In Us For Faulty Brake Switch

Subaru Recalls 1 3 Million Vehicles In Us For Faulty Brake Switch

Olm S Line Carbon Fiber Steering Wheel Covers 2016 Wrx Cvt Steering Wheel Cover Steering Wheel Wheel Cover

Olm S Line Carbon Fiber Steering Wheel Covers 2016 Wrx Cvt Steering Wheel Cover Steering Wheel Wheel Cover

2013 Subaru Xv Crosstrek Premium 12 600

2013 Subaru Xv Crosstrek Premium 12 600

Subaru Recalling 1 3 Million Cars For Brake Lights

Subaru Recalling 1 3 Million Cars For Brake Lights

2018 Subaru Crosstrek First Drive How The West Was Fun

2018 Subaru Crosstrek First Drive How The West Was Fun

Subaru Service Parts And Accessories

Subaru Service Parts And Accessories

Tail Light Change 2013 2019 Subaru Crosstrek 2016 Subaru Crosstrek Limited 2 0l 4 Cyl

Tail Light Change 2013 2019 Subaru Crosstrek 2016 Subaru Crosstrek Limited 2 0l 4 Cyl

How To Change Tail Light Bulbs In Subaru Impreza Xv 2012 2016 Youtube

How To Change Tail Light Bulbs In Subaru Impreza Xv 2012 2016 Youtube

2014 Subaru Xv Crosstrek Research Webpage Premium Limited Hybrid Hybrid Touring

2014 Subaru Xv Crosstrek Research Webpage Premium Limited Hybrid Hybrid Touring

Subaru Head Light Bulb Life Explained All Wheel Drive Auto

Subaru Head Light Bulb Life Explained All Wheel Drive Auto

Subaru Crosstrek Wikipedia

Subaru Crosstrek Wikipedia

Tundra Toggle Switches And More Modifications Than You Can Shake A Switch At Www Puretundra Com Led Light Bars Led Lights Bar Lighting

Tundra Toggle Switches And More Modifications Than You Can Shake A Switch At Www Puretundra Com Led Light Bars Led Lights Bar Lighting

Source : pinterest.com